Log of June 2006 events
June 13
- Dave Bennet prefers to use the original RAMAC logic (relay or electronic switch) method of servo set point rather than the more currently conventional method of DAC setpoint. Grant Saviers has found a potentially useful electronic switch
![]()
Vishay DG412DJ - http://www.vishay.com/docs/70050/70050.pdf - 16 pin dip, +-15 volts, Ron=25 ohms, Imax=30 ma - well below the 1 ma max expected :-))
- Stock - Jameco $1.05/10
![]()
![]()
Usage of this part will reduce the voltage across the potentiometers by a factor of 10, - but the noise, offset and drift margins should be good enough.
June 20
- Meeting of June 20, 2006, 1:00 - Atanasoff Room -
Present were:Off consulting in Europe was
- Al Hoagland - AHoagland at gmail dotty com - cell = 408-348-6647
- Dick Oswald - DOswald at psdc dotty com - 408-295-0094, work 408-557-4452
- Dave Bennet - KVXW89A at prodigy dotty net - 831-688-6372, cell 408-892-0272
- Joe Feng - Fengjs at juno dotty com - 408-365-7942
- Ed Thelen - ed at ed-thelen dotty org - 510-742-1146, cell 510-828-7673
- Pat Connolly - pconnolly@scu.edu - cell 408-309-6693
- - Jack Grogan - jackg1936@aol.com - cell phone 408-234-1936
also desired is- Herky Hanson - CPHanson@aol.com - 408-225-0458
- Much information was provided -
- Pat Connolly said that the User Interface of the Santa Clara program was "very minimal" - not suitable for a public demo
- Someone presented RAMAC plug wiring Images and Transcribed
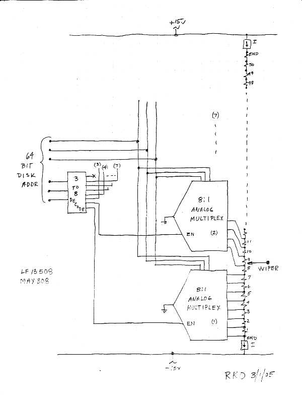
- Dick Oswald presented proposed electronics for
- current sources to drive position pots instead of floating voltage supplies
- analog switch to select set points (wired into RAMAC position pots)
- semiconductor amplifier to drive final clutch amplifier
- (he prefers to chop the clutch current to reduce final amplifier heating)
![]()
![]()
![]()
![]()
![]()
![]()
- Dick Oswald requested torque vs. clutch current curves, for several temperatures. A related effort for the related 729 tape drive clutches (100 ohm instead of the 305's 300 ohm clutches) is at the 1401 web site October 26, 2005
- Dick Oswald and others planned for the upcoming September anniversary of the announcement of the 350 RAMAC (and IBM 305?)
- He suggested that organization of demo hardware and tasks is needed.
- We started drawing ideas on the board
Note that the Servo, Sequencer, does not need to interact with the data signal reading for the September demo. The scope data does not need to be gated or converted into characters or ...
- As meeting reminders, I offer the following photos
RAMAC-06-06-20- Meeting02-
![]()
![]()
![]()
- I think Dave is making meeting notes?
- After the meeting, Joe, Dave, and I went to see the RAMAC.
- The second time we starting disk rotation, we heard squeaks.
- We didn't remember them on the first start,
- but they are there in the movie I took on the first start today. ?????
- Al Hoagland came by and tried to show us how to manually operate the disk detent mechanism.
- Left thumb does this, Right thumb does that -
- I think we need another lesson or two -
- When Joe and Dave wanted to shut down, Dave turned off the air switch to retract the heads,
- *but* the heads did *NOT* retract -
- (there was still a large signal on Joe's scope!!)
I went to release air pressure incase the head air solenoid was stuck open, and noticed that the indicated air pressure was 30 psi instead of the suggested 60 to 80 psi. ???
- What is the desired set point air pressure?
I forget if we checked both heads for signal,
- or just one, and which head appeared stuck?? Joe probably remembers -
While I was trying to figure how to bleed the air pressure from the accumulators/tanks, Joe announced that the read head signal had just dropped to noise level - indicating that the head finally retracted (several minutes after the HEAD AIR switch was turned OFF) ??!!??
This is disquieting - sliding an extended head off of or on to a disk will do serious damage !!
- When things got quiet, I tried to figure how to do the requested torque vs. current graphs of the clutches.
Plan A - clamp a "prony brake" bar onto the center clutch drive shaft, possibly over the capstain clamp, excite each magnetic clutch in turn, and measure the force at the end of the bar while hand rotating the outside shell of the excited clutch. ??
Might be good to check technique with Grant Saviers and Allen Palmer of the 1401 restoration team
If you have comments or suggestions, Send e-mail to Ed Thelen